企业
河南畜牧兽医信息网

旗下30余家公司被曝商票逾期,牧原股份紧急回应!企业为何热衷发行商票,逾期背后有何原因?
行业资深人士分析……
来源:🔗每日经济新闻  2021-12-07 09:59  点击:4537

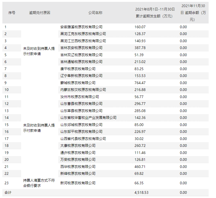
日前,上海票据交易所披露截至2021年11月30日持续逾期名单,其中含“牧原农牧有限公司”字样的企业达30余家,分布于全国各地,如山东邹平牧原农牧有限公司、辽宁阜新牧原农牧有限公司等等。

对此,上市公司牧原股份官方回应,经公司核查,由于公司未及时收到部分持票人的有效提示付款申请,或持票人选择的清算方式不符合银行要求等原因,导致公司无法按时兑付商票。

记者注意到,此前三个月,牧原股份未发生票据逾期现象,只是在11月份集中发生逾期。

票据业务资深人士汪健向《每日经济新闻》记者解释,商业承兑汇票逾期的可能原因有多种,比如财务人员一时粗心,忘了把钱按时转入扣款银行账户,也有可能企业真的没钱还债,还有可能是操作层面的技术性原因。

牧原股份旗下公司商票逾期集中发生于11月份

根据上海票据交易所信息,上述持续逾期名单为2021年8月1日至2021年11月30日出现3次以上付款逾期,且截至2021年11月30日有逾期余额或2021年11月当月出现付款逾期的承兑人名单。

记者进一步查证发现上述企业逾期行为集中发生于11月,在截至2021年10月31日、截至9月30日、截至8月31日的连续三个月发布的持续逾期名单中,均未有“牧原农牧”字样的企业出现。

以逾期余额较多的东营市垦利牧原农牧有限公司为例,上海票据交易所披露的信息显示,该公司10月份并未逾期,到了11月份,逾期余额达到481.43万元,累计逾期发生额为720.09万元。

根据启信宝,东营市垦利牧原农牧有限公司股东结构为,南阳市牧原招商产业发展有限公司持股74.0741%,牧原食品股份有限公司(牧原股份,002714.SZ)持股25.9259%。前者穿透后,牧原股份持有南阳市牧原招商产业发展有限公司股份64.0882%。

上市公司牧原股份官方回应,经公司核查,由于公司未及时收到部分持票人的有效提示付款申请,或持票人选择的清算方式不符合银行要求等原因,导致公司无法按时兑付商业承兑汇票。

牧原股份官方还表示,针对上述问题,公司已积极与持票人、银行沟通,推动商票兑付,保障持票人的合法权益。目前公司生产经营与现金流情况一切正常。公司已针对相关情况出台了专项管理制度与措施,未来将加强票据管理,避免类似事件发生。

12月6日晚间,牧原股份公告,2021年8月1日至11月30日,公司共有32家子公司出现付款逾期。经公司核查,截至2021年11月30日,其中23家子公司已完成全部逾期商票的兑付。截至2021年11月30日,公司尚有9家子公司存在逾期未支付商业承兑汇票合计1707.27万元;截至2021年12月6日,公司9家子公司尚存逾期未支付商业承兑汇票合计755.98万元。

截图来源:牧原股份《关于上海票据交易所<持续逾期名单(截至2021年11月30日)>

涉及公司所开具部分商业承兑汇票的情况说明》

记者注意到,牧原股份10月23日公告,公司第三届董事会第三十七次会议及2020年度股东大会,审议通过了《关于拟发行超短期融资券的议案》,向中国银行间市场交易商协会注册并发行不超过人民币100亿元(含100亿元)的超短期融资券,近期公司收到交易商协会通知,决定接受公司超短期融资券注册。注册金额为100亿元,注册额度自通知书落款之日起2年内有效。

12月6日晚间,牧原股份公布11月份生猪销售简报,11月份,公司销售生猪387.4万头(其中仔猪销售7.2万头),销售收入67.67亿元。当月,公司商品猪销售均价15.96元/公斤,比2021年10月份上升34.34%。公司商品猪价格呈现震荡上升趋势。

企业为何热衷于签发商票?

根据上海票据交易所披露的信息,牧原股份子公司发行的票据应属于商业承兑汇票。

按照行业给出的解释,商业承兑汇票是法人以及其他组织签发的,银行以外的付款人承兑的,由付款人在指定日期无条件支付确定的金额给收款人或者持票人的票据。商业承兑汇票是建立在商业信用基础上的信用支付工具,具有权利义务明确、可约期付款、可转让贴现等特点。

我国法定的票据种类包括支票、汇票和本票。其中汇票根据出票人的不同分为银行汇票和商业汇票。商业汇票根据承兑人的不同,分为银行承兑汇票和商业承兑汇票。

票据作为交易媒介的重要载体,是单位高频使用的非现金支付工具,在支付工具体系中占有重要的地位。

作为与实体经济联系最紧密的市场,票据市场的发展对拓宽企业融资渠道,缓解企业间债务拖欠,改善商业银行信贷资产质量,加强中央银行间接调控功能都发挥了积极作用。

尤其对企业而言,发行商业承兑汇票业务有诸多好处。一是使用方便。商业承兑汇票作为一种支付工具和融资工具,由企业签发、企业承兑,与其他支付工具和融资方式相比,简化了手续和环节。

二是通过支付信用票据化遏制货款拖欠。商业承兑汇票使企业在交易中的延期支付和信用支付,如口头承诺、挂账方式和合同约定等票据化,使债权债务得以明确表现,权利的行使和义务的履行都有据可依。持票企业既享有付款请求权,又享有追索权,企业收回货款更有保证。

三是降低财务费用。与银行承兑汇票相比,使用商业承兑汇票无须缴纳承兑手续费。与贷款相比,使用商业承兑汇票不仅可以获得一定期间的交易对手的免费信用,而且其贴现利率也一般低于贷款利率。

四是有利于丰富企业信用记录。企业根据需要,主动签发、承兑商业承兑汇票,并按时付款,有助于企业信用评级,树立企业诚实守信的形象。

企业可利用商业承兑汇票约期支付的特点,在延付货款时,通过签发商业承兑汇票予以支付。有条件的中小企业可选择信用良好、资金实力雄厚的企业作为商业承兑汇票的保证人,以此增强票据信用,促进中小企业承兑的商业承兑汇票流通。

商票逾期可能原因有多种

票据业务资深人士汪健向《每日经济新闻》记者解释,商业承兑汇票逾期的可能原因有多种,比如可能企业真的没钱还债,比如财务人员一时粗心,忘把钱按时转入扣款银行账户,也有可能是操作层面的技术性原因。

业内人士每经记者解释说,在逾期的可能原因中,第一种是伪造贸易背景,在商业票据业务起初环节就开始造假。

第二种是确实出现资金链断裂,无钱可还。

第三种是,承兑人层面,财务人员忘操作,客观上发生逾期。

第四种是,持票人层面操作失误,正如牧原股份官方回应的,部分持票人未及时发起提示付款申请,或持票人选择的清算方式不符合银行要求等。

第五种是,金融机构作为开户行在操作层面的问题。部分商业承兑汇票承兑人在票据到期后长期不应答,金融机构作为承兑人开户行未按规定代承兑人做出应答处理的情况。

第六种是清算方式等技术层面原因。近期中建东方装饰有限公司回应,公司建行账户和招行账户因某些原因,不能办理商业承兑汇票线上还款,改为了线下清算的方式,才造成了逾期。

而对于第四种可能——持票人层面操作失误,今年8月30日,上海票据交易所发布《关于进一步做好票据到期业务服务工作的通知》,提到个别企业因不熟悉票据到期处理业务规则导致其利益受损。比如部分企业在票据到期前已发起提示付款,当遇到票据到期无法兑付时,因其在提示付款期内未发起提示付款,导致其无法向所有前手追索的情况。

该《通知》还提到,部分持票企业在遇到票据到期拒付时,仅通过法律手段提起诉讼,而未在系统内及时进行相应追索操作,导致超出时效期无法通过系统发起追索的情况。

此外,《电子商业汇票业务管理办法》规定,持票人应在提示付款期内向承兑人提示付款。提示付款期自票据到期日起10日,最后一日遇法定休假日、大额支付系统非营业日、电子商业汇票系统非营业日顺延。

 编辑:刘金娥

声明:河南畜牧兽医信息网刊登的文章仅代表作者个人观点,文章内容仅供参考,并不构成投资建议,据此操作,风险自担。如果转载文章涉嫌侵犯您的著作权,或者转载出处出现错误,请及时联系文章编辑进行修正(电话:0371-65778965 )。河南畜牧兽医信息网原创文章,转载请注明出处及作者。感谢您的支持和理解!

发表评论
0评